您的当前位置:网站首页 > 新闻中心 > 产品知识 > 浮选工艺的脱水环节的设备选用
发布时间:2012-03-29 15:50:07
更新时间:2021-06-18 15:50:07
作者:武永兰
欢迎
在线咨询
获取报价清单及产品资料,赚钱从这里开始、期待您的来厂参观!
1 浮选工艺 2 脱水环节
在浮选工艺的脱水环节对矿物的选别结果有着相当重要的作用。因此在设备的选择上也要非常慎重。加压过滤机是近年来推广的一种新型效能高细粒物料脱水设备。该设备技术性能优良。而且是融合多项技术实现集中控制、自动调整的高新技术产品。其性能特点是连续工作、处理量大、产品水分低、电耗低。该设备目前有3种型式:行星式、圆筒式、圆盘式。

浮选机
行星式加压过滤机:其煤浆槽内装有带6个过滤辊的旋转主轴,每个辊上都固定有过滤部件。这些过滤辊在其轴上转动,并沿圆周轨道运动,周期性地浸没在煤浆内,第一台试验样机于1986年研制成功,但只推广应用两台,以后未见报道。
圆筒式加压过滤机:我国第一台试验样机是内滤式,过滤面积是20m2,用于处理浮选精煤,随着该设备的技术功能不断升级,以后也会在工业中推广开来。国外主要用于处理有色和黑色金属的细粒浆体。国外第一台试验样机于1986年完成了工业试验,过滤面积为96m2。
下面介绍我国研制成功的并应用于工业生产的圆盘式加压过滤机的工作原理、结构组成、技术特征、影响加压过滤效果的有关因素及应用情况。
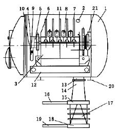
图1 圆盘式加压过滤机工作原理
圆盘式加压过滤机是将一台特制的盘式过滤机装入一个卧式压力容器中,工作时向压力容器内充以0.3MPa左右的压缩空气,盘式过滤机在此压力下进行过滤、脱水和卸料等工序,滤饼卸落后由压力容器内的刮板运输机集中运往密封排料阀。该阀由上下两仓组成,两仓交替工作,每仓都有独立的密封装置和排料闸板,整个生产过程都是在密闭的压力容器中进行,工作步骤与程序复杂,控制点多。全机采用了自动调节和自动控制系统。
除了主机以外,尚有液压系统、高压风机、低压风机、给料泵、各种风动、电动闸门及给料机和运输机等辅助设备,参见图2
图2 圆盘式加压过滤机工艺系统示意图
要现在过滤机工作的情况下改善过滤效果,更有效的方法就是提高过滤压差,压差对不同物料滤饼水分的影响如图3所示。但要把真空状态下使用的盘式过滤机改为正压状态下过滤,并应用到工业生产中却难度很大,主要体现在两个方面:其一是由于过滤压差增大,过滤速度加快,对于过滤机的结构和性能提出一些要求;其二是在压力密封条件下,要将滤饼顺利排出且阻止压气逸出,也对加压过滤技术提出更高的要求。
图3 压差对不同物料滤饼水分的影响
圆盘加压过滤机较好地解决了上述两个技术难题,因此该设备在选煤生产中有广泛的应用。该机比较适用于0-0.5mm浮选精煤及细粒煤泥脱水作业,也可用于黑色金属及有色金属精矿脱水,以及化工、轻工、环保等工业部门固液分离。
下一篇:浮选机常见的20个问题解答
![]()
![]()
在线留言想了解价格?产量?型号?售后?请留言,我们第一时间为您回复